搪瓷缸、五角星、红色调……最近,在全国多地开店的人民咖啡馆因店名问题在网上引发强烈关注,该公司迅速发表声明致歉,表示接下来将按照注册商标更改店名。
新闻晨报《上海会客厅》节目前往该咖啡馆在沪的两家门店进行实地探访,其中一家已暂停营业。
公司发布致歉声明,
“人民咖啡馆”上海首店暂停营业
近期,全国多地的人民咖啡馆因店名问题引发社会关注。咖啡馆门店以红色为主色调,店招使用了“人民咖啡馆”字样,下方还带有“人民咖啡为人民”的宣传语。
据了解,人民咖啡馆已陆续在全国开设二十多家直营门店,其母公司为要潮(上海)文化传播有限公司(以下简称要潮文化)。11月8日,要潮文化在社交平台发布声明表示,公司将严格按照注册商标规范各个场景应用。中国内地迅速调整为“要潮人民咖啡馆”,中国香港、中国澳门地区及海外地区仍然为“人民咖啡馆”。公司全面启动对线上线下物料的整改工作,将中国大陆所有门店门头加上“要潮”,所有宣传中也规范使用“要潮人民咖啡馆”。
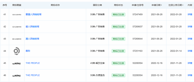
天眼查显示,要潮文化近年来有过高达九十多次的商标申请记录,申请动作频频。其中已经注册商标46项,中文商标包括要潮、爱人民咖啡馆、潮人民咖啡馆、要潮人民咖啡馆等,英文商标包括THE PEOPLE的多个类别,而“人民咖啡馆”的35类(广告销售)和43类(餐饮住宿)显示为商标无效。有6条“人民咖啡馆”的商标申请为驳回复审,这些商标采用了不同的“人民咖啡馆”字体。
要潮文化注册成功的部分商标
位于光复路9号的人民咖啡馆四行仓库店是人民咖啡馆的上海首店,也是要潮文化在上海的公司注册地。
记者11月9日前往光复路9号,发现咖啡馆已经是铁将军把门,门口张贴了一张“暂停营业”的告示,而且为手写,感觉张告示写得非常匆忙。虽然无法看到内部的实际情况,不过透过窗户,仍然能看到里面灯光还亮着。
位于光复路9号的人民咖啡馆四行仓库店已经暂停营业
复兴面王四行仓库店与人民咖啡馆是隔壁邻居,由同一个门进入。光复路上咖啡馆的铁门一关,这家面馆还能继续营业吗?记者就此致电复兴面王四行仓库店,据工作人员介绍,“因为咖啡馆内部有调试,然后我们(面馆)顺带着一起先关了。”对于面馆什么能恢复营业,这位工作人员表示要等咖啡馆那边的消息。
虹口门店仍在营业,
“人民咖啡馆”店名被调整
据市民朋友介绍,人民咖啡馆在虹口有一家门店。记者查询发现,该门店在点评网和滴滴打车当中都有收录,目前名称显示为“看得到风景的咖啡馆”。
该店原先的名称为“看得到风景的人民咖啡馆”
“看得到风景的咖啡馆”(11月9日 拍摄)
为了提前预约,记者登录“看得到风景的咖啡馆”小程序时发现,该店还在使用原来的宣传图片,从图片当中可以清晰看到,该店原先的名称为“看得到风景的人民咖啡馆”,其中,位于第二行的“人民咖啡馆”字样非常清晰。
记者11月9日前往白玉兰广场,与其他市民一道通过机器人带路到达L层。咖啡馆空间较大,有部分游客坐在靠窗位置。
该店对“人民咖啡馆”的名称露出做了处理
记者注意到,该店近日已经对“人民咖啡馆”的名称露出做了处理,显示屏已经看不到“人民咖啡馆”的名称。店内多处宣传物料上的“人民咖啡馆”字样有明显的人为的处理痕迹,有的只剩下“咖啡馆”,有的只剩下“馆”,还有一处宣传品上的“人民”被黏贴了“上海”两字,遮挡意图非常明显。
在展示的货架上,部分文创产品有“人民咖啡馆”包装字样以及五角星的图标,而产品的委托方正是要潮(上海)文化传播有限公司。
部分文创产品还有明显的“人民咖啡馆”包装字样
11月9日,记者尝试联系要潮文化负责人,电话未能接通。
商标品牌专家:
“人民”二字有特殊含义,咖啡馆作为商标使用不合适
商标品牌专家方佳敏博士深耕知识产权领域多年,是上海市科技创业导师、上海发明协会理事。就人民咖啡馆的商标问题,他接受了新闻晨报记者的采访并做了分享。
Q新闻晨报:在你看来,这家公司在“人民咖啡馆”的多个类别上注册不成功的原因是什么?
A方佳敏:由于“咖啡馆”系通用行业属性名词,类似“电影院”、“商场”等,一般不作为商标的显著性部分。除去“咖啡馆”三字后,“人民咖啡馆”商标的显著性部分仅剩下“人民”二字。在中国,“人民”二字在社会生活中具有特殊含义,比如人民政府、人民法院均代表政府和公权力;再如,我国的国家制度为人民民主专政,“人民”还具有直接的政治属性。因此,“人民”作为一个特殊名词,如同时作为商标被一家企业所垄断性使用,是不合适的。就商标确权审查专业角度来看,“人民咖啡馆”大概率不具备显著性,并且可能导致被社会公众误认,具有欺骗性,违反了《商标法》第十条第一款的相关条款。
6条“人民咖啡馆”的商标申请被驳回复审
Q新闻晨报:有人认为,全国现在叫人民饭店、人民照相馆的单位很多,还有市民非常熟悉的人民公园,为什么这些单位可以使用“人民”字样,这当中是不是有历史原因?
A方佳敏:“人民饭店”、“人民照相馆”虽然也带有“人民”二字,并且也是经营性市场主体,但有其形成的特殊历史和社会因素。大部分这类单位,均产生于改革开放前,并且原均系国营性质。而“人民公园”作为具有公共属性的非营利机构,也不会产生误导。
