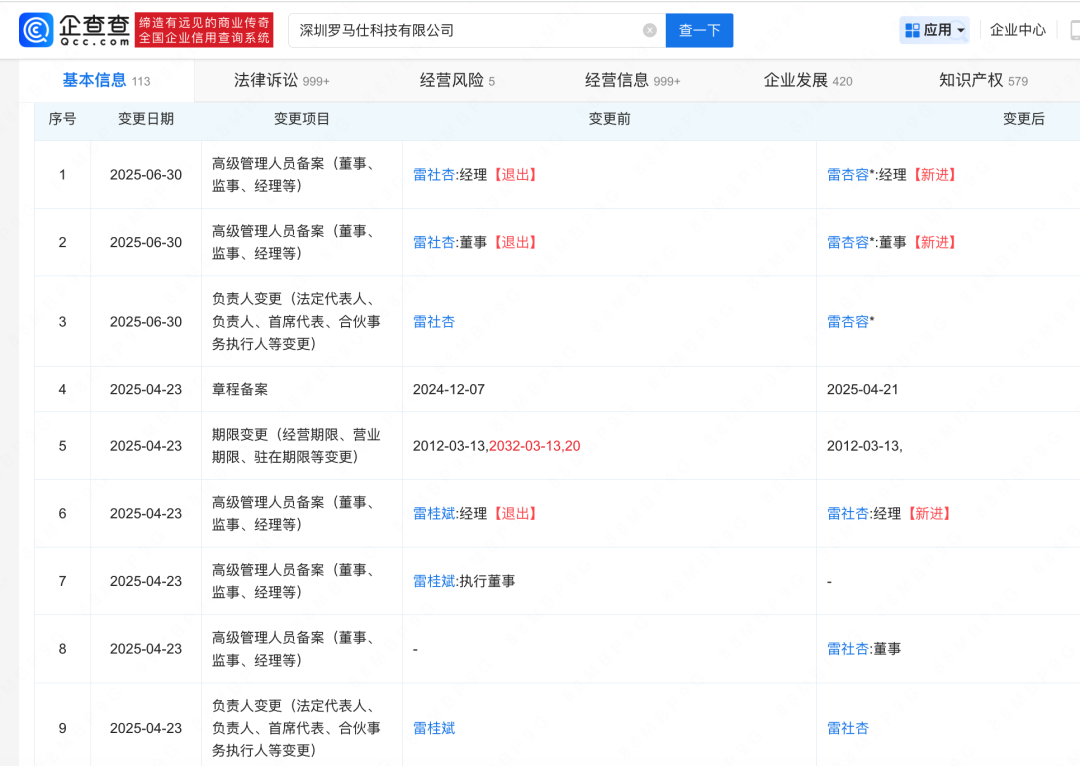
近日,罗马仕关联公司深圳罗马仕科技有限公司发生工商变更,雷社杏卸任法定代表人、董事等,由雷杏容接任。值得注意的是,雷社杏于今年4月新任该公司法定代表人、董事。据此次变更不足三个月。
6月14日,罗马仕就“多所高校禁用罗马仕充电宝”事件公开发布声明:
对于近期“北京多所高校禁用罗马仕充电宝”事件的讨论,我们就给师生及公众带来的困扰致以诚挚歉意,在此郑重承诺:任何经权威机构鉴定存在缺陷的罗马仕产品,我们将依法承担全部责任。
同时,我们高度重视此事,并第一时间展开核查,与北京市教育委员会等相关部门取得沟通,截至到公告发布,并未收到北京市教育委员会的风险通告。相关信息在传播过程中存在偏差,导致公众产生误解。该事件后续进展我们将会通过官方渠道第一时间通知大家。
6月18日,罗马仕称部分电芯原材料在极端场景下可能产生风险,存在安全隐患。在官方平台紧急发布移动电源召回计划,并公布召回的产品型号及生产批次号。
公开资料显示,罗马仕(ROMOSS)品牌的运营主体为深圳罗马仕科技有限公司,成立于2012年,其专注于充电领域,布局了移动电源、数据充电线和电源适配器等九大产品线。
该公司成立于2012年3月,注册资本600万人民币。据此前报道,该公司发布消息称,将召回2023年6月5日-2024年7月31日期间制造的部分罗马仕ROMOSS牌移动电源三款产品共计491745台。
大象新闻记者 王瑞麟
