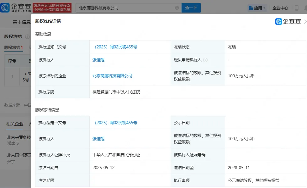
天眼查App显示,近期,羊了个羊游戏关联公司北京简游科技有限公司新增1条股权冻结信息,被执行人为张佳旭,冻结股权数额100万人民币,冻结期限为3年,执行法院为福建省厦门市中级人民法院。值得注意的是,张佳旭所持有的天津简乐企业管理咨询合伙企业(有限合伙)75万人民币股权也被冻结。
北京简游科技有限公司成立于2021年1月,法定代表人为张佳旭,注册资本约131.6万人民币,由张佳旭、厦门雷霆网络科技股份有限公司、天津简乐企业管理咨询合伙企业(有限合伙)共同持股。据报道,2022年羊了个羊游戏爆火,而张佳旭为该公司创始人。
来源:极目新闻、潇湘晨报、大象新闻、天眼查App
