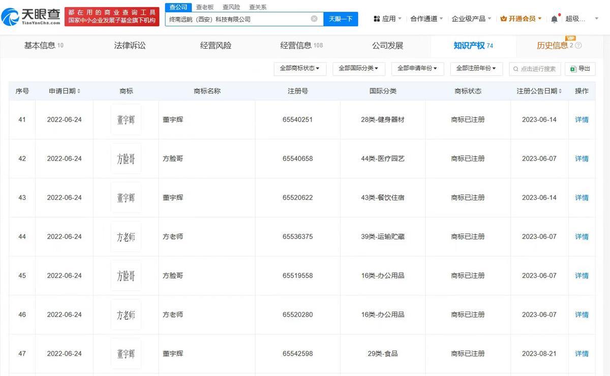
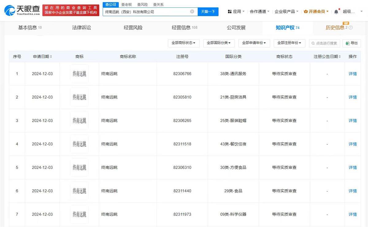
天眼查知识产权信息显示,近日,与辉同行(北京)科技有限公司向终南远眺(西安)科技有限公司转让多枚“方老师”“方脸哥”“董宇辉”“终南远眺”及董宇辉照片商标,国际分类涉及广告销售、日化用品、食品等,当前商标状态多为已注册。
(图源:天眼查)
终南远眺(西安)科技有限公司成立于2024年11月,法定代表人为董宇辉,注册资本1000万人民币,经营范围包括以自有资金从事投资活动、企业总部管理、创业投资等,由董宇辉全资持股。
(图源:天眼查)
另外,与辉同行(北京)科技有限公司成立于2023年12月,注册资本1000万人民币,由董宇辉任法定代表人、董事、经理并全资持股,马楠任财务负责人。
(图源:天眼查)
2022年以来,由新东方英语老师转型为东方甄选主播的董宇辉,先是因在直播中“双语带货”,“撞脸”兵马俑成为网红,后因其对读书的热爱不断“出圈”。“书不能让你解决现实生活中的问题,但书总能让你想清楚现实中的一些问题。”他的直播片段被剪辑成短视频传播,成千上万的粉丝慕名涌入直播间,成为2022年人们印象最深的网络现象之一。
(图源:天眼查)
2023年12月,“小作文”事件爆发,东方甄选和董宇辉相关话题引发网友热议。
2024年7月,董宇辉从东方甄选离职。当月,“与辉同行”从东方甄选体系剥离后全资控股,聚焦教育科技、文化传播及直播带货。与辉同行在2024年累计直播带货销售额达92.62亿元,总订单量突破1.5亿单,其中12月单月销售额更是创下12.73亿元的新高。
极目新闻综合天眼查、扬子晚报/紫牛新闻、经济参考网等
