10月14日,李亚鹏和海哈金喜在微博分享视频官宣离婚。
李亚鹏、海哈金喜和孩子合照 图据李亚鹏微博
天眼查任职信息显示,李亚鹏名下关联9家企业,其中8家为存续状态,包括丽江雪山投资有限责任公司、北京中书艺莲网络科技有限公司、东阳世纪春天影视策划有限公司等。李亚鹏在上述公司担任董事、监事等职务,与海哈金喜无商业关联。
图据天眼查
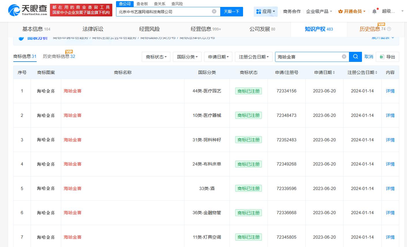
值得注意的是,李亚鹏名下的北京中书艺莲网络科技有限公司曾于2023年申请注册多枚“海哈金喜”商标,国际分类包括医疗园艺、医疗器械、饲料种籽等,目前上述商标均已成功注册。
图据天眼查
