图片来源:永辉超市
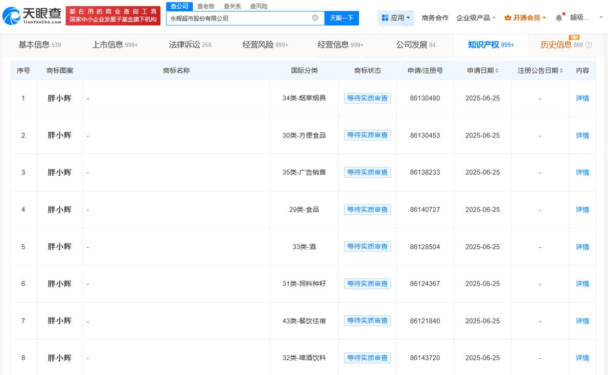
蓝鲸新闻7月14日讯(记者 孙煜)天眼查App显示,近日,永辉超市(601933.SH)申请注册多枚“胖小辉”商标,国际分类涉及啤酒饮料、餐饮住宿、食品、烟草烟具等,当前商标状态均为等待实质审查。
来源:天眼查
永辉超市自去年起学习胖东来模式进行调改,围绕“商品精选、服务升级、环境焕新”的逻辑,首家调改店郑州信万广场店2024年6月19日调改后正式开业。公司公告显示,截至今年一季度末,永辉超市在全国范围内共计完成61家门店的调改开业。
永辉方面表示,目前调改网络正以每月20-30家的速度在全国推广,预计到9月底,永辉胖东来模式调改门店将突破208家,覆盖75座城市。
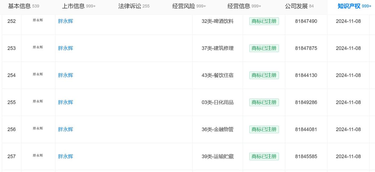
去年11月,永辉超市曾提交多枚“胖永辉”商标申请,国际分类涉及日化用品、啤酒饮料、皮革皮具等,天眼查App显示,目前商标状态均为“商标已注册”。
来源:天眼查
从业绩表现看,永辉超市披露财报显示,2024年实现营业收入675.74亿元,归母净利润-14.65亿元。2025年第一季度,永辉超市营业收入174.79亿元,归母净利润1.48亿元。
