7月7日,一名网友发布办公室监控画面称,一个罗马仕充电宝突发爆炸。目击者称,充电宝是同事去年买的,不是召回型号,“充电时突然有响声,起火后烟很大”。据此前报道,7月6日凌晨,罗马仕发布停工停产放假通知。
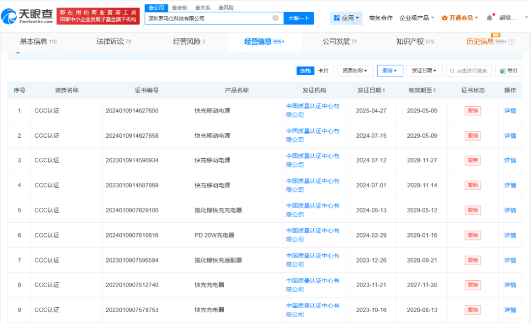
大河报记者从天眼查平台了解到,深圳罗马仕科技有限公司成立于2012年3月,该公司多个“CCC认证”证书目前处于暂停或撤销状态。
值得注意的是,近日,该公司法定代表人、董事、经理两次发生变更。此外,公司及旗下5家子公司法定代表人和高管均于近期变更。
来源 大河报、大象新闻
7月7日,一名网友发布办公室监控画面称,一个罗马仕充电宝突发爆炸。目击者称,充电宝是同事去年买的,不是召回型号,“充电时突然有响声,起火后烟很大”。据此前报道,7月6日凌晨,罗马仕发布停工停产放假通知。
大河报记者从天眼查平台了解到,深圳罗马仕科技有限公司成立于2012年3月,该公司多个“CCC认证”证书目前处于暂停或撤销状态。
值得注意的是,近日,该公司法定代表人、董事、经理两次发生变更。此外,公司及旗下5家子公司法定代表人和高管均于近期变更。
来源 大河报、大象新闻