据人民网江西微信公众号消息,7月22日,江西润田实业股份有限公司发布严正声明,内容如下:
严正声明
近日,自称润田创始人黄安根配偶的网民在多个网络平台上发布视频,其中涉及我公司股权变动、业务经营等言论与事实严重不符,引发网络舆论关注。对此,我公司严正声明如下:
一、黄安根及其配偶魏苗苗与江西润田实业股份有限公司无任何关系
黄安根为江西润田饮料股份有限公司(以下简称“润田饮料”,成立于2003年1月7日)的法定代表人及实际控制人,2014年该公司因资金链断裂,严重资不抵债,陷入危机。
2014年10月11日,润田饮料的相关债权人成立江西润田实业股份有限公司(以下简称“润田实业”),对润田饮料进行承债式资产重组。重组后润田实业作为唯一主体从事“润田”纯净水、“润田翠”矿泉水等包装饮用水业务,并于2016年引入国资,从民营企业变更为国资控股企业。
黄安根及其配偶魏苗苗与润田实业自始至终无任何股权关系、劳动关系等关系。黄安根担任法定代表人的润田饮料已于2020年6月5日被吊销营业执照。
二、我公司对发布涉及我司的相关不实言论将追究法律责任
自称润田创始人黄安根配偶的网民在网络上持续散布涉及我公司的不实言论,严重损害了公司品牌形象和市场声誉,对公司的正常生产经营造成了较大负面影响,对此,我公司将依法依规对不实言论发布者追究法律责任。
江西润田实业股份有限公司
2025年7月22日
相关报道:
“我老公是卖水的,卖水的可挣钱了,好几个老婆,好几个孩子。”
近日,江西润田矿泉水创始人(在公司已没有股份)的妻子魏苗苗在社交媒体上的视频直播中突然曝出“猛料”,称老公黄安根有过四段婚姻,生了5个孩子,其中自己生了2个。还有条置顶视频,标题是“1989年的我嫁给1963年的他,不是一时兴起,而是奉陪到底。”
这位网名“暴躁十亿姐”的润田老板第四任妻子亲自传授“富婆生存法则”,声称自己想法传统,坚决不离婚,字典里只有丧偶、没有离婚,要让女儿继承事业。
魏苗苗还将丈夫的影响力转化为流量,在社交平台为自家品牌带货。
魏苗苗在简介中自称:
江西润田上市公司创始人黄安根的小娇妻,两个女儿的妈妈,2015年从事护肤品研发销售,拥有酩媛护肤品牌,家中还有两家准上市企业“深圳秦沃与深圳汉朔建元”,爱老公爱女儿爱事业,生命不息,创业不止。
不过,现实的情况却和她描述的有诸多不同。
黄安根已于10年前出局
据公开消息,润田的故事始于1994年。
当时,曾在江西英矿医院、中山医科大学历练过的医生黄安根,敏锐地觉察到纯净水的商机,做出了令人意外的职业抉择:他放弃深圳道斯(中国)投资公司的高薪职位,跨界创办润田,于1994年推出550ml装纯净水。
得益于此前的医疗背景,黄安根将医疗领域的标准引入饮用水生产,斥资引入进口生产线。为了迅速打开市场,刚起步的润田打出了两张差异化的牌:
一是1元的定价策略。在当时,主流矿泉水定价在1.5~2元区间,润田以1元的定价切入大众消费市场,迅速在江西市场铺开。
二是在县乡市场重投入,毛细血管般渗透渠道。起初,为了支撑低价策略,润田通过自建瓶坯厂降低包装成本,并将资源重押县乡市场,制定了优厚的经销商激励政策,构建起密集的终端网络。
2007年,润田迎来高光时刻——亚洲顶级投资基金软银赛富向其注资2亿元,成为润田A轮战略投资者。
2008年,润田完成股份制改造,被列入南昌市拟上市企业名单,并计划2009年提交IPO材料,但最终,上市计划因市场环境等因素搁浅。
随后,2013年,润田因“首长专供”受到舆论关注,包装上的特权标签,被指涉嫌虚假宣传,违反不正当竞争法。 而据媒体报道,从2014年开始,润田饮料就被曝欠薪、欠经销商货款等。
2014年,润田实业正式成立,在2个月后,完成了对原江西润田饮料股份有限公司的承债式并购重组;2016年润田实业引入国资,从民营企业变成国资控股混合所有制企业。
与此同时,黄安根则从润田出局。
魏苗苗也在近日的视频中称,黄安根从2015年离开润田,“我老公出局的时候,是以经营危机,资金链断裂的名头出来的,至今他没有发声过一句话。”
两家准上市企业均为“小微企业”
值得注意的是,5月14日晚,ST联合公告,公司正在筹划以发行股份及支付现金的方式购买江西润田实业股份有限公司部分或全部股权并募集配套资金,以实现公司对润田实业的控制。
据润田实业官网:润田实业是江西省内生产经营包装饮用水的龙头企业,也是国有控股企业,是众所周知的江西名片,“润田翠”系列天然矿泉水是润田公司的核心产品。
根据披露,润田实业2023年和2024年分别实现营业收入11.5亿元和12.6亿元;分别实现净利润约1.47亿元和1.77亿元,具有较强的盈利能力。交易预案中提到,上市公司近年来盈利能力较弱,通过优质资产注入公司,为上市公司后续发展奠定坚实基础。
不过,魏苗苗称,润田在2004年营业额已经有12.8亿元,一年已有一两个亿的利润。
魏苗苗透露,润田的旧公司“江西润田天然饮料食品有限公司”存在的债务问题,新润田至今没有解决,黄安根依然是被执行人。
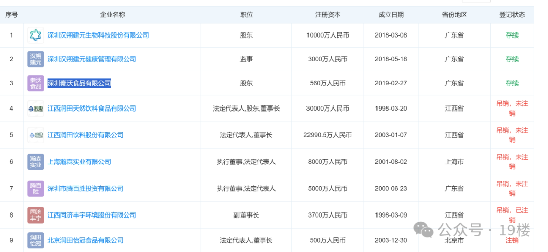
媒体查询天眼查发现,江西润田天然饮料食品有限公司已于2024年4月9日被吊销。
另外,天眼查显示,黄安根的关联公司多达几十家,不过大多都被吊销或注销,目前存续的公司包括“深圳汉朔建元生物科技股份有限公司”“深圳汉朔建元健康管理有限公司”“深圳秦沃食品有限公司”等。
魏苗苗提到的两家准上市企业“深圳秦沃与深圳汉朔建元”应该就在上述存续公司中。不过,天眼查显示,上述企业均为“小微企业”。
另外,据天眼查显示,黄安根涉及多起终本案件(即终结本次执行程序,主要是指对确无财产可供执行的案件,法院将暂时终结执行程序并做结案处理,待发现财产后继续恢复执行的一项制度。)
黄安根涉及的最新一起终本案件未履行金额达2800万元。
人民网江西、每日经济新闻、综合公开消息、中国经营报
