近日,《人物》独家对话杨幂,提及其离开嘉行以及“三亿对赌”传闻等,引发关注,多个相关话题登上热搜。
记者问杨幂,3.1亿这个巨大的数字对她究竟意味着什么,压力到底有多大?
杨幂回应称:“江湖传闻有这么多,很多东西是我不了解的,我也不知道传闻传成这样是为什么。每个人为了自己的利益,去尽可能地达成自己利益的时候,如果这种利益跟别人的利益会产生冲突的话,大家自然而然成了正方或者反方,但你不能说哪一方是对的。那我觉得说,在这种关系中能取舍就取舍,上过班的都懂,能沟通就沟通,沟通不了就算了,都是有取舍的。”
2023年5月8日,杨幂发了一条微博,很短,只有八个字:共有从前,各有未来,宣布自己正式离开嘉行传媒。随即,“杨幂官宣离开嘉行”的消息迅速上了热搜,获得了8.4亿的话题阅读量。
三亿赌约
2016年,嘉行传媒宣布向尚世影业发行定向股票,募资3个亿,为了获得这3亿投资,他们签下了业绩对赌协议。约定的条件是:2015年至2017年三年间,嘉行传媒累计税后净利润要达到3.1亿,若低于这个数字,嘉行必须以年收益率15%回购尚世影业持有的嘉行股票。这是一场高风险也高回报的赌局。
作为嘉行传媒的核心艺人之一,从2015年到2017年,杨幂付出了她几乎全部的时间和精力,三年内,她接拍了13部影视作品,2部综艺。那些作品大多都没有得到很好的观众评价,直到2017年初,《三生三世十里桃花》的爆红,最终拯救了这场赌局—这三年内,嘉行的估值翻了200倍,从2500万到50亿。
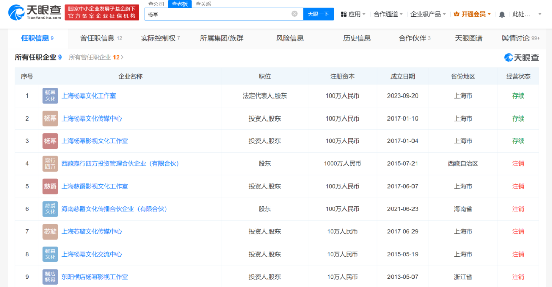
杨幂与嘉行传媒已无商业关联
天眼查App显示,杨幂名下共关联9家企业,其中3家为存续状态,包括上海杨幂文化工作室、上海杨幂文化传媒中心、上海杨幂影视文化工作室,均为杨幂个人独资企业。值得一提的是,曾任职信息显示,杨幂曾为西安嘉行影视传媒股份有限公司股东,持股约15.19%,去年,杨幂退出该公司。目前,杨幂关联企业均与嘉行传媒无股权关联。
