近日,有网友发文称,在百万网红殷世航的诱导下参加博主“东南vip”的活动,结果上千人被骗,涉及资金高达千万。据蓝鲸记者了解到,东南从去年十月开始推出此类活动。最开始的活动还包含部分网课、营销教学,后期逐渐转型为以红包、高额利息回报为主的项目。
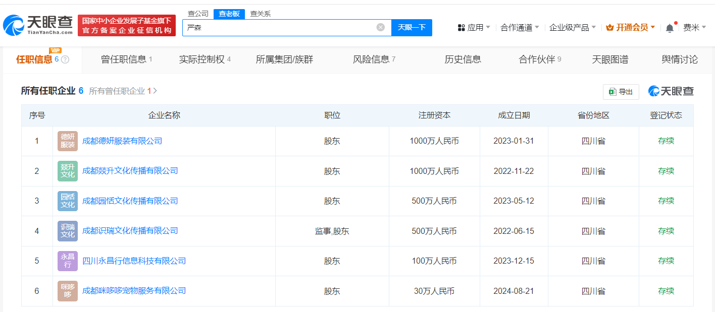
记者从天眼查App获悉,严森(博主“东南vip”)关联6家存续企业,包括成都园恬文化传播有限公司、成都燚升文化传播有限公司、成都识瑞文化传播有限公司等,严森均持有上述公司股份。风险信息显示,近日,成都园恬文化传播有限公司因通过登记的住所或者经营场所无法联系,被成华市场监督管理局列入经营异常名录。其名下的成都燚升文化传播有限公司存在1条股权冻结信息,冻结股权数额14.97万人民币。
值得一提的是,今年1月,严森及名下的成都燚升文化传播有限公司、成都识瑞文化传播有限公司曾因民间借贷纠纷被起诉,目前该案已于今年3月撤诉。
潇湘晨报综合
