近日,航空测评网红“小虎行”机场强迫志愿者摘口罩,拍视频威胁还扬言要亲自动手,相关话题引发网友热议。目前,其账号已无法被搜索到,账号主页认证关联公司为杭州小虎行资产管理有限公司。
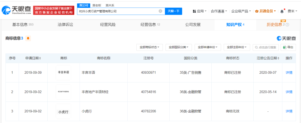
天眼查App显示,杭州小虎行资产管理有限公司成立于2017年6月,法定代表人为王兆丰,注册资本500万人民币,经营范围包括资产管理、投资管理、投资咨询、企业管理咨询,由王兆丰、杨孟共同持股。知识产权信息显示,该公司已成功注册“丰言丰语”“丰言地产丰语财经”商标,其于2019年9月申请的“小虎行”商标已被驳回,现处于无效状态。关联企业信息显示,王兆丰、杨孟二人名下还关联了多家名为“丰言丰语”“小虎行”的公司。
潇湘晨报综合
极目新闻客户端
网红“小虎行”机场强迫志愿者摘口罩,揭秘其背后公司,公司曾申请小虎行商标被驳回
潇湘晨报
2024-10-16 18:15:41
阅读量:
责任编辑:王原贵
