近日,博主“听泉鉴宝”陷入学历造假风波。10月15日,听泉鉴宝发视频回应称:从未说过自己是北大的。
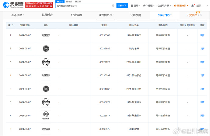
据悉,“听泉鉴宝”直播中会经常提到“很开门”等暗语。天眼查知识产权信息显示,听泉鉴宝关联的杭州良匠传媒有限公司已申请注册多枚“听泉”“听泉鉴宝”“听泉严选”“听泉甄选”“听泉优选”商标,国际分类涉及广告销售、珠宝钟表等,当前商标状态均为等待实质审查。
此外,江苏灵匠企业管理有限公司、莘芮餐饮管理(上海)有限公司也曾申请注册多枚“听泉鉴宝”等商标,其中,江苏灵匠公司近期已成功注册多枚“听泉”商标,其余商标申请均为等待实质审查。股权穿透信息显示,上述两公司与听泉鉴宝公司无股权关联。此外,今年9月,刘某某申请注册2枚“很开门”商标,国际分类为餐饮住宿、广告销售,当前商标状态为等待实质审查。
据悉,听泉鉴宝在直播中的反应经常效果拉满,妙语连珠,宛若一出大型的鉴宝脱口秀。时间长了,听泉鉴宝直播间也拥有了自己的专属“黑话”,甚至直播中提及的故事都被网友视作“新都市传说”。比如“下去沉淀吧”“近一点,反过来”“哪里弄来的”等等,你有看过他的直播吗?
综合:四川观察、鲁中晨报等
