据扬子晚报2月22日报道,今日(22日),南京国美电器商场正式被上架进行司法拍卖,起拍价为2.6亿元。
成渝金融法院将对南京市白下区洪武路137号1至5层及夹层共计六处房产进行司法拍卖。这六处房产的建筑面积超过1.6万平方米,评估总价超3.8亿元,起拍价为2.6亿余元,竞买人需要缴纳2675万元保证金。
据了解,该门店在去年2月曾短暂进行内部调整,暂停门店营业,之后又恢复开放。现在除一楼手机售卖区在正常营业外,其余大部分电器售卖区域处于暂停营业状态。
另据中新经纬2月21日电,国美电器再新增5条被执行人信息,执行标的合计2.8亿元。
中国执行信息公开网显示,2月19-2月20日,国美电器新增5条被执行人信息。其中,2月19日新增4条,执行标的分别为:10800元、4970000元、282268000元、10000元;2月20日新增1条,执行标的为268587元。
中国执行信息公开网截图
中国执行信息公开网还显示,国美电器相关被执行人信息共560余条。
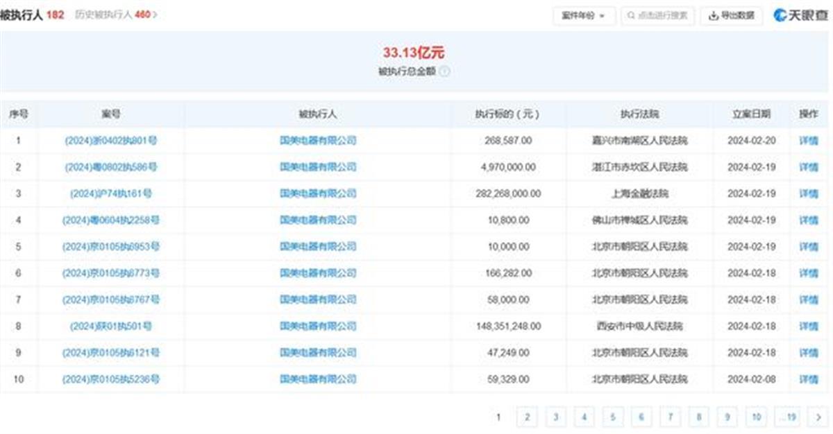
天眼查截图
另据财联社21日消息,风险信息显示,国美电器有限公司被执行总金额超33亿元。此外,该公司还存在多条限制消费令、失信被执行人(老赖)和终本案件信息。
极目新闻综合扬子晚报、中新经纬、中国执行信息公开网、天眼查、据财联社
