极目新闻记者 李贤诚
因受“镉”风波影响,千禾味业连日来深陷舆情漩涡。3月21日开盘,千禾味业(股票代码603027)开盘再度跳空下跌,开盘一度跌至5%,截至收盘跌幅收窄,但仍跌3.9%,收盘11.34元/股,公司总市值约为116.5亿元。
千禾官网
消息面上,千禾味业的一款酱油产品(御藏本酿380天酱油)因被检测出含有0.01mg/kg的“镉”而引发大众关注,随后又陷入包装是否误导消费者的争议。
3月20日深夜,千禾味业发布关于媒体报道酱油产品检出“镉”以及与零添加相关情况与消费者的沟通说明。就酱油检出“镉”,千禾味业称,媒体报道所述千禾御藏本酿380天酱油的配料为水、非转基因黄豆、小麦、食用盐,未外源添加任何食品添加剂和其它化学剂。“镉”存在于水、土壤、各类农产品中,酱油产品检出的微量“镉”来源于原料。根据GB2762《食品安全国家标准 食品中污染物限量》,酱油主要原料中“镉”的限量为:大豆≤0.2mg/kg,小麦≤0.1mg/kg,食用盐≤0.5mg/kg。公司使用的原材料均符合国家标准要求。
千禾味业说明
关于商标与零添加的关系,千禾味业表示,该系列产品不存在蹭热点混淆零添加概念的行为。该商标设立的初心是为了对零添加产品做区别,便于广大消费者选购,不存在误导消费者的行为。虽然公司产品符合相应国家标准,但因前期与消费者沟通不到位,让消费者产生了误会,对此深表歉意。

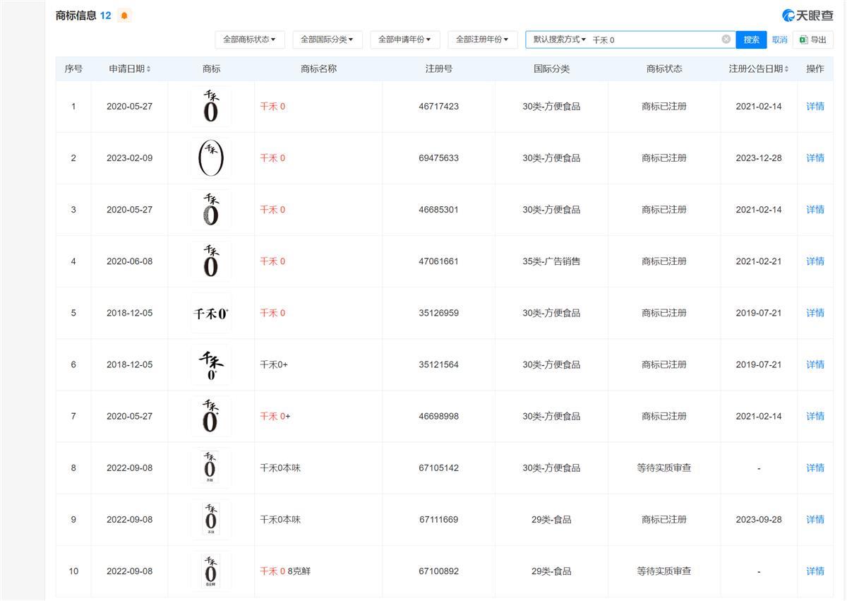
公开信息显示,千禾味业食品股份有限公司成立于1996年,位于东坡故里四川眉山。该公司也是全国农产品加工业示范企业、中国调味品协会副会长单位、四川省农业产业化重点龙头企业、四川省级企业技术中心和四川省博士后创新实践基地。2016年3月7日,千禾味业在上海证券交易所主板上市。“天眼查”知识产权信息显示,该公司已成功注册多枚“千禾 0”“千禾 0+”商标。
